Схема линии

Фото оборудования

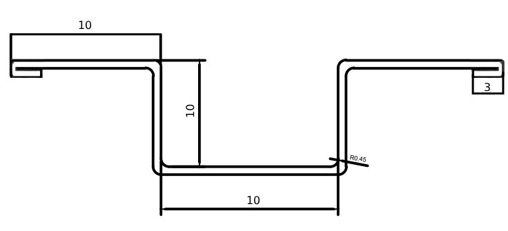
Чертеж изделия

Схема линии

Фото оборудования

Чертеж изделия

| Напряжение (В) | 380 |
| Частота (Гц) | 50 |
| Производительность (м/мин) | ≤40 |
| Общая мощность (кВт) | 9,5 |
| Толщина материала (мм) | 0,5-1 |
| Материал | Оцинкованная сталь |
| Размеры помещения (м) | 8,5 х 2 х 2 |
| Общий вес (кг) | 2200 |